0

Разделы

Устройство защиты и мониторинга цепей 24В. PSE200U

 

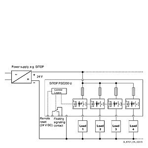
Модуль SITOP PSE200U предназначен для работы с блоками питания =24 В, распределения их выходного тока между несколькими параллельными цепями и мониторинга этих цепей. В случае появления перегрузки или короткого замыкания в одной из ветвей питания нагрузки модуль обеспечивает селективное отключение этой ветви, оставляя в работе все остальные ветви. Один модуль SITOP PSE200U способен обслуживать до 4 параллельных ветвей питания нагрузки.

 


Технические данные

Устройство защиты и мониторинга цепей 24В. PSE200U

Блок питания, Тип

Модуль, 4 x 3 A

Модуль, 4 x 10 A

Заказной номер

6EP1 961-2BA11

6EP1 961-2BA21

Вход

Постоянное напряжение

Постоянное напряжение

Номинальное напряжение Vвх ном

24 В DC

24 В DC

Диапазон напряжений

22 ... 30 В

22 ... 30 В

Защита от перенапряжений

35 В

35 В

Входной ток Iвх ном

12 A

40 A

Выход

Постоянное напряжение

Постоянное напряжение

Номинальное напряжение, Vвых.ном

V вх - примерно 0.2 В

V вх - примерно 0.2 В

Допустимые отклонения

В соответствии с входным напряжением

В соответствии с входным напряжением

Число выходных каналов

4

4

Номинальный ток  Iвых ном

3 A на каждый канал

10 A на каждый канал

Диапазон уставок

0.5 ... 3 A на каждый канал с помощью потенциометра

3 ... 10 A на каждый канал с помощью потенциометра

Параллельное подключение каналов

Не допустимо

Не допустимо

Подключение каналов

Подключение всех каналов по достижению напряжения > 20 В, время задержки 25 мс, 100 мс или, настраиваемое с помощью  DIP-переключателя, оптимальное для нагрузки 

Подключение всех каналов по достижению напряжения > 20 В, время задержки 25 мс, 100 мс или, настраиваемое с помощью  DIP-переключателя, оптимальное для нагрузки

Эффективность

 

 

КПД при Vвых ном, Iвых ном

Примерно 97 %

Примерно. 97 % (тип. 99 %)

Потери мощности при Vвых ном, Iвых ном

Примерно 9 Вт

Примерно 30 Вт (тип. 10 Вт)

Характеристики отключения для каждого канала

 

 

Перегрузка по току

Iвых. = 1.0... 1.3 x значения уставки, приблизительно после 5 с

Iвых. = 1.0... 1.3 x значения уставки, приблизительно после 5 с

Ограничение тока

Iвых. = 1.3 x значения уставки приблизительно после 50 - 100 мс

Iвых. = 1.3 x значения уставки приблизительно после 50 - 100 мс

Немедленное отключение

Iвых.> установленного значения и Vвх. <20 В, отключение через 0.5 мс

Iвых.> установленного значения и Vвх. <20 В, отключение через 0.5 мс

Остаточный ток при отключении

-

-

Сброс

Использование кнопки на модуле

Использование кнопки на модуле

Удаленный сброс отключения

Не изолированный вход 24 В (сигнал > 15 В)

Не изолированный вход 24 В (сигнал > 15 В)

Защита и мониторинг

 

 

Защита канала

5 A внутренний не обслуживаемый плавкий предохранитель

15 A внутренний не обслуживаемый плавкий предохранитель

Индикаторы режима

Трехцветный индикатор на каждый канал:

  • Зеленый  "Выход работает в нормальном режиме"
  • Желтый  "Выход выключен в ручную"
  • Красный "Выход выключен из-за перегрузки"

Трехцветный индикатор на каждый канал:

Зеленый  "Выход работает в нормальном режиме" Желтый  "Выход выключен в ручную" Красный "Выход выключен из-за перегрузки"

Сигнальный контакт

Общий сигнализирующий замыкающий контакт (NO) 0.5 A/24 В DC)

Общий сигнализирующий замыкающий контакт (NO) 0.5 A/24 В DC)

Безопасность

В соответствии с EN 60950 и EN 50178

В соответствии с EN 60950 и EN 50178

Класс защиты

Класс III

Класс III

Степень защиты (EN 60 529)

IP20

IP20

Маркировка СЕ

Да

Да

UL/cUL (USA )

В процессе

В процессе

Взрывозащита

ATEX EX II 3G Ex nAC II T4

ATEX EX II 3G Ex nAC II T4

EMC

 

 

Излучаемые помехи

EN 55022 Класс B

EN 55022 Класс B

Помехоустойчивость

EN 61000-6-2

EN 61000-6-2

Условия эксплуатации

 

 

Температуры окружающего воздуха

0 ... +60 °C с естественным охлаждением

0 ... +60 °C с естественным охлаждением

Температура хранения и транспортировки

‑25 ... +85 °C

‑25 ... +85 °C

Класс влажности

Климатический класс 3K3 по EN 60 721, без конденсации

Климатический класс 3K3 по EN 60 721, без конденсации

Механические характеристики

 

 

Соединения

 

 

  • Вход +24 В

2 зажима под винт 0.5 ... 10 мм2

2 зажима под винт 0.5 ... 10 мм2

  • Вход 0 В

2 зажима под винт 0.5 ... 4 мм2

2 зажима под винт 0.5 ... 4 мм2

  • Выход 1 - 4

1 зажим под винт 0.5 ... 4 мм2

1 зажим под винт 0.5 ... 4 мм2

  • Сигнальный контакт

3 зажима под винт 0.5 ... 4 мм2

3 зажима под винт 0.5 ... 4 мм2

  • Удаленный сброс

1 зажим под винт 0.5 ... 4 мм2

1 зажим под винт 0.5 ... 4 мм2

Размеры (Ш x В x Г) в мм

70 x 80 x 72

70 x 80 x 72

Вес

0.2 кг

0.2 кг

Монтаж

Монтаж на стандартной профильной шине, DIN EN 50 022-35 x 15/7.5

Монтаж на стандартной профильной шине, DIN EN 50 022-35 x 15/7.5

 


Технические данные

 


Чертеж

Устройство защиты и мониторинга цепей 24В. PSE200U

 


Схема подключения

Устройство защиты и мониторинга цепей 24В. PSE200U

Принципиальная схема модуля SITOP PSE200U

 


Заказные данные

Цена на сайте указана розничная в ЕВРО без учета НДС.Для уточнения цены и размера предоставляемой скидки - звоните или присылайте заявки

Заказной номерPGОписание продуктаЦена
6EP1961-2BA11586SITOP PSE200U 3 A, МОДУЛЬ СЕЛЕКТИВНОСТИ, 4 КАНАЛА, ВХОД: =24 В, ВЫХОД: =24 В/ 3 А НА КАЖДЫЙ КАНАЛ. ВЫХОДНОЙ ТОК НАСТРАИВАЕТСЯ В ДИАПАЗОНЕ 0.5 — 3 А 92.22
6EP1961-2BA21586SITOP PSE200U 10 A, МОДУЛЬ СЕЛЕКТИВНОСТИ, 4 КАНАЛА, ВХОД: =24 В, ВЫХОД: =24 В/ 10 А НА КАЖДЫЙ КАНАЛ. ВЫХОДНОЙ ТОК НАСТРАИВАЕТСЯ В ДИАПАЗОНЕ 3 — 10 А 102.82
6EP1961-2BA31586SITOP PSE200U 3 A, 4Х-КАНАЛЬНЫЙ МОДУЛЬ СЕЛЕКТИВНОСТИ, ВХОД: =24 В, ВЫХОД: =24 В/3 А, ПОКАНАЛЬНАЯ НАСТРОЙКА ВЫХОДОВ НА ТОК 0,5-3 А, СО СТАТУСНЫМ СООБЩЕНИЕМ ДЛЯ КАНАЛА 92.22
6EP1961-2BA41586SITOP PSE200U 10 A, 4Х-КАНАЛЬНЫЙ МОДУЛЬ СЕЛЕКТИВНОСТИ, ВХОД: =24 В, ВЫХОД: =24 В/10 А, ПОКАНАЛЬНАЯ НАСТРОЙКА ВЫХОДОВ НА ТОК 3-10 А, СО СТАТУСНЫМ СООБЩЕНИЕМ ДЛЯ КАНАЛА 102.82

 


Аксессуары

Цена на сайте указана розничная в ЕВРО без учета НДС.Для уточнения цены и размера предоставляемой скидки - звоните или присылайте заявки

Заказной номерPGОписание продуктаЦена
3RT1900-1SB2041BИДЕНТИФИКАЦИОННАЯ ТАБЛИЧКА 20X7 MM БИРЮЗОВЫЙ ЦВЕТ УПАКОВКА С 17 РАМК. 20 ТАБЛИЧЕК НА РАМКУ = 340 ТАБЛИЧЕК (ПРЕДПОЧТИТЕЛЬНЫЙ ТИП) 26.68