0

Разделы

Техническое описание
  • Измерительныый сенсор и
  • Необходимые монтажные и соединительные детали.

Сенсор состоит из двух проводов, которые изготовлены из различных металлов или сплавов и которые на одном конце, в месте измерения, спаены или сварены друг с другом:

Термопара

 


Функции

Техническое описание
Принцип измерения термопары

Если температура места измерения отличается от температуры на свободном конце сенсора, то между свободными концами возникает напряжение, термическое напряжение. Величина термического напряжения зависит от разницы между температурой места измерения и температурой на свободных концах, а также от вида комбинации материалов сенсора. Так как одним сенсором всегда регистрируется одна разница температур, то для определения температуры места измерения свободные концы должны находится в на клемме термокомпенсации с равномерной и известной температурой.

Основные величины термических напряжений и допустимые отклонения

Основные величины термических напряжений и допустимые отклонения для самых распространенных пар материалов приведены в DIN EN 60 584, часть 1 (см. „Технические параметры“, таблица „Основные величины термонапряжений и предельные отклонения“).

Сенсоры Cu-CuNi и Fe-CuNi по DIN 43 710 предусмотрены в качестве запасных. Обычно поставляются сенсоры класса 2. Для более точных измерений могут поставляться сенсоры класса 1 с уменьшенным наполовину DIN-допуском или сертификатом заводского испытания. Допуски действуют только при поставке прибора.

В процессе эксплуатации при высоких температурах допуски сенсоров могут изменяться из-за поглащения примесей, окисление или испарение составных частей сплавов.

Принцип работы

Сенсоры от их места соединения через компенсационные линии по возможности имеют удлинение до места с равномерной температурой (клемма термокомпенсации).

Компенсационные линии имеют туже идентификационную окраску как и соотвествующие сенсоры; плюсовой полюс окрашен в красный цвет. Следить за соблюдением полей при соединении, в ином случае возникают большие погрешности измерения. До 200 °C для компенсационных линий действуют те же основные величины и допуски что и для соотвествующих сенсоров.

Влияние колебаний температуры на клемме термокомпенсации может быть устранено компенсационным подключением, например, с помощью компенсационной розетки. Эталонная температура составляет 0 °C (32 °F ) или 20 °C (68 °F).

Клеммы термокомпенсации также могут сохранять постоянную температуру в 50, 60 или 70 °C (122, 140 или 158 °F) с помощью термостата (для нескольких мест измерения).

От клеммы термокомпенсации к измерительному или процессуальному прибору прокладываются медные линии. У энергопотребляющих приборов, например, у индикаторов и точечных принтеров, весь измерительный контур (сенсор, компенсационная линия и медная линия) в рабочем состоянии должен компенсироваться уравнительным сопротивлением. Измерительный преобразователь SITRANS T и компенсационный самописец KOMPENSOGRAPH для подсоединения к термопарам имеют встроенную компенсационную схему для уравнивания влияния внешней температуры на клемму термокомпенсации. Благодаря высокому входному сопротивлению здесь отсутствует коррекция линейного сопротивления.

Защитная арматура/защитные трубки

Сенсор может быть защищен от механического или химического воздействия с помощью керамической или металлической защитной трубки, которая ввинчивается, приваривается или прифланцовывается к трубопроводам или резервуарам. Конец сенсора находится на соединительной головке.

Примеры монтажа с предложениями для сенсоров и материалов защитных трубок см. в разделе „Интеграция“ в таблице „Примеры монтажа“.

Из-за различных условий эксплуатации ответственность изготовителя не распространяется на арматуры защитных трубок. За повреждения и ошибки измерения вследсвии неправильного монтажа изготовитель отвечает в рамках общих условий поставки в том случае, если монтаж был осуществлен самим изготовителем и данные заказчика касательно условий эксплуатации правильны и полны.

Термопары очень гибкие, почти всегда им можно придать форму и размер, соответсвующие использованию. Температурный чувствительный элемент имеет форму точки. Поэтому термопары особенно подходят для измерения быстро меняющихся температур.

 

 


Интеграция

Техническое описание
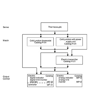
Комбинация приборов для измерения и регулирования температуры, с термопарой в качестве чувствительного элемента
Примеры монтажа с предложениями по подходящим сенсорам и защитным трубкам

Место измерения

Доп. рабочая температура

Сенсор

Защитная трубка

 

°C (°F)

 

 

A. Металлургия

1. Домна

Горячий воздух

1000 (1832)

Ni Cr/Ni

Открытая защитная трубка X 10 CrAl 24, материал No. 1.4762, открытое место измерения, зацементировано

Неочищенный газ

300 (572)

Ni Cr/Ni

X 10 CrAl 24,материал No. 1.4762, отбортовка

2. Воздухонагреватель

Купол

1200 (2192)

Pt 10% Rh/Pt

Снаружи: X 15 CrNiSi 24 19, метериал

 No. 1.4841,Внутри: KER 710

Отработанный газ

300 (572)

Ni Cr/Ni

St 35.8, материал No. 1.0305, безшовный, эмалированный

3. Мартеновская печь

Каналы отработанных газов

600 (1112)

Ni Cr/Ni

X 10 CrAl 24,материал No. 1.4762, отбортовка

Камерная решетка

1350 (2462)

Pt 10% Rh/Pt

Снаружи: карборунд 

Внутри: KER 710

Расплав (кратковрем.)

1600 (2912)

Pt 10% Rh/Pt

Погружная термопара спецконструкции

4. Нагревательный колодец

Печная камера

1350 (2462)

Pt 10% Rh/Pt

Снаружи: карборундВнутри: KER 710

Отработавший газ перед или после рекуператора

1000 (1832)

Ni Cr/Ni

X 10 CrAl 24,материал No. 1.4762, отбортовка; монтаж с газонепроницаемой резьбовой муфтой

Дутьевой воздух после рекуператора

700 (1292)

Ni Cr/Ni

X 10 CrAl 24,материал No. 1.4762, отбортовка; монтаж с газонепроницаемой резьбовой муфтой

5. Методическая печь, карусельная печь и другие печи прокатного стана

Зона подогрева

800 (1472)

Pt 10% Rh/Pt или Ni Cr/Ni

Снаружи: карборундВнутри: KER 710 илиснаружи: карборундвнутри: KER 610

Зона накаливания

1250 (2282)

Pt 10% Rh/Pt

См. выше

Зона компенсации

1350 (2462)

Pt 10% Rh/P

Снаружи: карборундВнутри: KER 710

Отработавший газ перед воздушным рекуператором

900 (1652)

Ni Cr/Ni

X 10 CrAl 24,материал No. 1.4762, отбортовка; монтаж с газонепроницаемой резьбовой муфтой

Отработавший газ перед и после газового рекуператора

700 (1292)

Ni Cr/Ni

См. выше или KER 610

Подогретый воздух после рекуператора

700 (1292)

Ni Cr/Ni

См. выше

6. Печь для отжига, печь для нормализации, печь с роликовым подом

Газовое пространство печи

800 (1472)

Ni Cr/Ni

X 10 CrAl 24,материал No. 1.4762,отбортовка

Канал отработавших газов

600 (1112)

Ni Cr/Ni

См. выше

7. Колпаковая печь для отжига

Прямой нагрев колпака

950 (1742)

Ni Cr/Ni

X 10 CrAl 24,материал No. 1.4762,отбортовка

Стапель для белой жести

600 ... 900 (1112 ... 1652)

Ni Cr/Ni

Спецконструкция открытая термопара с тепловым контактным листом

Стапель для автомобильных листов

700 ... 920 (1292 ... 1688)

Ni Cr/Ni

См. выше

Защитный газ

650 (1202)

Ni Cr/Ni

Открытая термопара

8. Ленточные агломерационные машины

(вакуум-камеры)

400 (752)

Fe/Cu Ni

(термопара с обшивкой) X 10 CrAl 24, материал No. 1.4762

Для решающей схемы Температурный максимум

400, 500 (752, 932)

Fe/Cu Ni

Как выше с двойным сенсором

9. Установки для лужения

Пальмовое масло, травильный танк, элетролит для лужения

650 (1202)

Ni Cr/Ni

St 35.8,материал No. 1.0305, безшовный, эмалированный

10. Установки для оцинковки

Цинковая ванна

480 (896)

Fe/Cu Ni

St 35.8,материал No. 1.0305,безшовный

11. Установки для термической обработки

11.1 В газах

Печь для отпуска

550 (1022)

Ni Cr/Ni

St 35.8,материал No. 1.0305,безшовный

Обжиг в окислямых, серо- и углесодержащих газах

1050 (1922)

Pt 10% Rh/Pt (Ni Cr/Ni)

Снаружи: X 10 CrAl 24,материал No. 1.4762, отбортовка         внутри: KER 710

1200 (2192)

Pt 10% Rh/Pt

Снаружи: X 10 CrAl 24,материал No. 1.4762, отбортовкавнутри: KER 710

Обжиг в серосодержащих восстановительных газах

1200 (2192)

Pt 10% Rh/Pt

См. выше

Обжиг в азотистых газах с небольшим содержанием кислорода, дистанционных азотистых печах с аммиаком

1200 (2192)

Pt 10% Rh/Pt

Снаружи:X 15 CrNiSi 24 19,материал No. 1.4841, отбортовка;внутри: KER 710

11.2 В ваннах для термической обработки (рекомендуются защитные трубки из цельного материала с отверстиями)

Соль и селитра

550 (1022)

Ni Cr/Ni

Чистый чугун,материал No. 1.1003

Циан

950 (1742)

Ni Cr/Ni

Чистый чугун или X 15 CrNiSi 24 19,материал No. 1.4841

Хлоридные ванны

1050 (1922)

Pt 10% Rh/Pt

Снаружи: X 10 CrAl 24,материал No. 1.4762,внутри: KER 710

Свинцовые резервуары

1200 (2192)

Pt 10% Rh/P

Снаружи: хромоникелевый сплав NiCr 60 15,материал No. 2.4867,внутри: KER 710; из цельного материала с отверстиями

Ванны хлорида бария

1300 (2372)

Pt 10% Rh/Pt

Снаружи: хромоникелевый сплав NiCr 60 15,материал No. 2.4867,внутри: KER 710;

B. Заводы цветной металлургии (в ваннах расплавленного металла срок службы ограничен)

Медеплавильни

1250 (2282)

Pt 10% Rh/Pt

Снаружи: X 10 CrSi 29, материал No. 1.4772,из цельного материала с отверстиямивнутри: KER 710

Отработавшие газы медеплавилен

1300 (2372)

Pt 10% Rh/Pt

Снаружи: Карборунд    внутри: KER 710

Плавильни латуни

900 (1652)

Ni Cr/Ni

X 10 CrAl 29,материал No. 1.4772,из цельного материала с отверстиями

Плавильни алюминия

700 (1292)

Ni Cr/Ni

Перлитный чугун GG 22, из цельного материала с отверстиями

GG 22, из цельного материала с отверстиями

Литье под давлением, магний

700 (1292)

Ni Cr/Ni

Чистый чугун,материал No. 1.1003, из цельного материала с отверстиями

Плавильни антифирикционных сплавов, свинца и олова

600 (1112)

Fe/Cu Ni

St 35.8,материал No. 1.0305,безшовный, эмалированный

Плавильни свинца

700 (1292)

Fe/Cu Ni

Хромоникелевый сплав     NiCr 60 15,материал No. 2.4867, из цельного материала с отверстиями

Плавильни цинка

480 (878)

Fe/Cu Ni

St 35.8,материал No. 1.0305,безшовный

600 (1112)

Fe/Cu Ni

Карборунд

Отработавшие газы печей для плавки цинка

1300 (2372)

Pt 10% Rh/Pt

Снаружи: Карборунд           внутри: KER 710

C. Керамическая промышленность

Кольцевая печь для стандартных кирпичей

800 ... 1100 (1472 ... 2012)

Ni Cr/Ni

X 10 CrAl 24,материал No. 1.4762, отбортовка

Кольцевая печь для клинкера, каммерная печь,туннельная печь, печь для глазури

1200 ... 1300 (2192 ... 2372)

Pt 10% Rh/Pt

Снаружи и внутри: KER 710

D. Стекольная промышленность

1. Печь стекольных ванн

Решетка регенератативной камеры, сверху

1300 (2372)

Pt 10% Rh/Pt

Снаружи: KER 530Внутри: KER 710

Решетка регенератативной камеры, снизу

600 (1112)

Ni Cr/Ni

Термопара-фарфор

Боковые стенки, свод, пол (в высверленных каналах до 50 мм под ванной)

1550 (2822)1400 (2552)

Pt 30% Rh/Pt 6% Rh

Снаружи и внутри:KER 710

Печь отжига

800 (1472)

Ni Cr/Ni

X 10 CrAl 24,материал No. 1.4762,отбортовка

Отжигательная печь

1200 (2192)

Pt 10% Rh/Pt

KER 710

2. Стекловаренный горшок

 

1500 (2732)

Pt 30% Rh/ Pt 6% Rh

Снаружи и внутри: KER 710

3. Газогенераторы

Неочищенный газ

750 (1382)

Ni Cr/Ni

X 10 CrAl 24,материал No. 1.4762,отбортовка

Вращающаяся решетка  (Grate head)

180 ... 200 (356 ... 392)Кратковр.:500 to 1000 (932 to 1832)

Fe/Cu Ni

Спецконструкция по запросу(изготовляется по данным)

E. Цементная промышленность, вращающаяся трубчатая печь

Вторичный воздух на охладителе

900 (1652)

Ni Cr/Ni

X 10 CrAl 24,материал No. 1.4762

Горячая камера

900 (1652)

Ni Cr/Ni

X 10 CrAl 24,материал No. 1.4762

Сушильная камера

400 (752)

Fe/Cu Ni

St 35.8,материал No. 1.0305, или схожий, эмалированный

F. Целлюлозные фабрики

Серосжигальные печи,    Сырье серного кольчедана

до 1500 (2732)

Pt 30% Rh/ Pt 6% Rh

Снаружи: Карборундвнутри: KER 710

Позади котла-утилизатора

600 (1112)

Ni Cr/Ni

X 10 CrAl 24,материал No. 1.4762

G. Паротурбинные электростанции

Водо- и паропроводы (ввинчивающиеся и приварные термопары)

Ввинчивающаяся термопара

300 (572)

Fe/Cu Ni

Бронза Sn Bz 6, по DIN 1726 (только для воздуха или воды)

Ввинчивающаяся термопара

400 (752)

Fe/Cu Ni

St 35.8,материал No. 1.0305

Ввинчивающаяся термопара

500 (932)

Fe/Cu Ni

113 CrMo 44,материал No. 1.7335

Приварная термопара

540 (1004)

Fe/Cu Ni

113 CrMo 44,материал No. 1.7335

Приварная термопара

570 (1058)

Ni Cr/Ni

10 CrMo 9 10,материал No. 1.7380

750 (1382)

Fe/Cu Ni(Ni Cr/Ni)

X 8 CrMoNb 16 16,материал No. 1.4981

Дымовой газ

1000 (1832)

Pt 10% Rh/Pt

Megapyr,Cr Al 20 5,материал No. 1.4767илиснаружи: X 10 CrAl 24,материал No. 1.4762,внутри: KER 710 St

600 (1112)

(Ni Cr/Ni)

St 35.8,материал No. 1.0305, эмалированный

Линия для смеси угольной пыли и воздуха

100 (212)

Fe/Cu Ni

St 35.8,материал No. 1.0305,(с отбойником)

 

 


Технические данные

Техническое описание
Обозначения для сенсоров, по DIN 43710 и DIN IEC EN 60584 (IEC 584) Aug. 10.96

DIN 43710, выпуск 12.85

Cu-CuNi

Тип U

Fe-CuNi

Тип L

DIN EN 60584

Cu/Cu Ni

Тип T

Fe/Cu Ni

Тип J

Ni Cr/Ni

Тип K

Ni Cr Si-NiSi

Тип N

Pt 10% Rh/Pt

Тип S

Pt 13% Rh/Pt

Тип R

Pt 30% Rh/ Pt 6% Rh

Тип B

Основные величины термонапряжений и предельные отклонения

По DIN EN 60584 (выпуск10.96) и DIN 43710 (выпуск 12.85), эталонная температура: 0 °C (32 °F).

1) Действует большое значение; t  это фактическая температура.

Прерывистая линия представляет опорные точки для границ длительного режима работы сенсора в чистом воздухе.

Пример: сенсор Fe-CuNi (диаметр отвода 3 мм (0.12 дюймов) по DIN 43 732) может использоваться для температур свыше 700 °C (1292 ° F) продолжительное время только осторожно.

Граница применения зависит также от поперечного сечения провода, прежде всего у сенсоров из неблагородных металлов. Прочие данные содержаться в DIN 43 712 и DIN 43 732.

Границы длительного режима работы не могут быть точно указаны, так как на термическое напряжение влияют много факторов, которые не могут быть точно дефинированы. Поэтому основные величины и предельные отклонения для сенсоров и сенсорных проводов могут гарантироваться только при поставке приборов.

Для эталонных температур 20, 50, 60 и 70 °C (термостат) указанные термонапряжения уменьшаются:

Эталонная температура

°C (°F)

Уменьшение термического напряжения сенсора

Тип T

mV

Тип U

mV

Тип J

mV

Тип L

mV

Тип K

mV

Тип S

mV

Тип R

mV

Тип B

mV

20 (68)

0.789

0.80

1.019

1.05

0.798

0.113

0.111

-0.003

50 (122)

2.035

2.05

2.585

2.65

2.022

0.299

0.296

0.002

60 (140)

2.467

2.48

3.115

3.19

2.436

0.365

0.363

0.006

70 (158)

2.908

2.91

3.649

3.73

2.850

0.432

0.431

0.011