0

Разделы

Скачать Заказные данные 
SITRANS FU380

Двух-лучевой ультразвуковой расходомер SITRANS FU380 предназначен для измерения расходаводы на станциях теплоснабжения, местных сетях водоснабжения, подстанциях и других применениях. Прибор может иметь питание, как от сети, так и от батарей.

Расходомер SITRANS FU380 соответствует стандартам EN 1434 class 2, OIMLR75 class 2 и метрологические параметры защищены от несанкционированного доступа. Название расходомера, предназначенного для коммерческого учета SITRANS FUE380. В техническом плане модификации SITRANS FU380 и SITRANS FUE380 полностью идентичны.

Вместе с тепловычислителем и двумя температурными датчиками SITRANSFU380 может быть использован как часть системы для измерения тепловой энергии. Для этих целей Siemens предлагает тепловычислитель SITRANS FUE950.

 


Особенности

Скачать Заказные данные 
SITRANS FU380
  • 6 лет работы от батарей
  • Резервное питание от батареи в случае отключения внешнего питания
  • Одна кнопка для перемещения по меню прибора
  • 2-х лучевой принцип измерений для получения оптимальных результатов
  • Компактная или разнесенная установка
  • Измерения не зависят от проводимости или качества воды
  • Нет падения давления
  • Долговременная стабильность измерений
  • Гальванически развязанный цифровой выход предназначен для подключения вычислителя
  • Динамический диапазон до 1:450

 


Область применения

Скачать Заказные данные 
SITRANS FU380

Основной областью применения SITRANS FU380 является измерение расхода воды и/или тепла в системах распределения горячей или охлажденной воды.

 


Дизайн

Скачать Заказные данные 
SITRANS FU380

2-х лучевая конструкция SITRANS FU380 позволяет быть уверенным в максимальной точности измерений при минимальных прямых участках. Расходомер состоит из трубы на которой установлены 4 излучателя и преобразователь сигналов SITRANS FU080.

Блок доступен в интегральной или разнесенной версии с максимальным расстоянием между преобразователем расхода и преобразователем сигналов 30 м. При заказе интегральной версии кабельные соединения смонтированы и готовы к установке.

Максимальная температура воды при интегральном монтаже до 120 °C (248 °F). Преобразователь сигналов должен быть теплоизолирован для предотвращения перегрева. Класс защиты преобразователя сигналов IP67/NEMA 4X/6.

 


Функции

Скачать Заказные данные 
SITRANS FU380

Использование  FUS380 вместе с  SIMATIC PDM  даёт возможность тестирования и верификации счетчика на месте, а так же выдавать сертификат калибровки с точными данными, подтверждающие качество измерения.

Сертификат калибровки содержит информацию об актуальном состоянии расходомера:

  • Общие  настройки, General settings, информация о расходомере и уровне заряда батареи, счетчик значения, а так же импульсы выходных параметров.
  • Подробная информация о передатчике и функциональности датчика, а так же основной список параметров для оценки функциональности расходомера.

 


Интеграция

Скачать Заказные данные 
SITRANS FU380

Цифровой выход расходомера часто используется как вход для тепловычислителя или цифровой системы удаленного доступа к данным.

SITRANS FU380 имеет два цифровых выхода, которые могут использоваться индивидуально.

Частота импульса выхода определяется при заказе.

Если расходомер является частью энергоизмерительной системы для охраняемой теплоцентрали, не требуется никаких дополнительных допусков, кроме местных допусков на расходомер.

 


Конфигурация

Скачать Заказные данные 
SITRANS FU380
Руководство по выбору SITRANS FU380, стандартная версия

Номинальный диаметр расходомера в соответствии с EN 1092-1

DN 100

DN 125

DN 150

DN 200

DN 250

DN 300

DN 350

DN 400

DN 500

DN 600

DN 700

DN 800

Диапазон расхода1)

Q max. (qs)

m3/h

240

400

560

900

1400

2100

2800

3600

5500

8000

10800

14200

 

Q min. (qi)

m3/h

0.6

1.0

1.5

2.5

4.0

5.6

7.0

9.5

14.75

21.50

29.0

38.0

Динамический диапазон

Qi:qs

 

1:400

1:400

1:373

1:360

1:350

1:375

1:400

1:379

1:373

1:372

1:372

1:373

 

Руководство по выбору SITRANS FUE380, версия для коммерческого учета

В соответствии с EN 1434, класс 2, flowmeter values

Номинальный диаметр расходомера в соответствии с EN 1092-1

DN 100

DN 125

DN 150

DN 200

DN 250

DN 300

DN 350

DN 400

DN 500

DN 600

DN 700

DN 800

Диапазон расхода1)

Q max. (qs)

m3/h

180

280

420

700

1120

1560

2100

2660

4130

6020

8120

10640

 

Q permanent (qp)

m3/h

60

100

150

250

400

560

750

950

1475

2150

2900

3800

 

Q min. (qi)

m3/h

0.6

1.0

1.5

2.5

4.0

5.6

7.5

9.5

14.75

21.5

29.0

38.0

Цена импульса

l/pulse

1

2.5

2.5

2.5

10

50

50

50

100

100

100

100

В соответствии с OIML R75, класс 2, flowmeter values

Номинальный диаметр расходомера в соответствии с EN 1092-1

DN 100

DN 125

DN 150

DN 200

DN 250

DN 300

DN 350

DN 400

DN 500

DN 600

DN 700

DN 800

Диапазон расхода1)

Q max. (qs)

m3/h

240

400

560

900

1400

2100

2800

3600

5500

8000

10300

10800

 

Q nominel (qp)

m3/h

120

200

300

500

800

1120

1500

1950

2950

4300

5800

7600

 

Q min. (qi)

m3/h

1.2

2.0

3.0

5.0

8.0

11.2

15.0

19.5

29.5

43.0

58.0

76.0

Цена импульса

l/pulse

1

2.5

2.5

2.5

от10

50

50

50

100

100

100

100

Динамический диапазон qi:qp: лучше чем 1:100 в соответствии с EN 1434 и OIML R75 класс 2

Отсечка малого расхода: 0.2% от qp (q nominal)

При заказе, для получения наилучшего разрешения сигнала в диапазоне Qмин - Qмакс около 100 Гц при qs, два или три значения  для каждого диаметра могут быть выбраны.

1) Другие диапазоны– см. Заказные коды MLFB

 

 


Технические данные

Скачать Заказные данные 
SITRANS FU380

Конструкция преобразователя расхода

2-х лучевой датчик с фланцами и встроенными излучателями, заводская поверка

Номинальный размер

DN 100, 125, 150, 200, 250, 300, 350, 400, 500, 600, 700, 800

Уровень давления

PN 16, PN 25, PN 40 EN 1092-1

 Материал расходомера

Углеродистая сталь EN 1.0345 / p235 GH

Конструкция излучателя

Компактная версия, приваренная на трубу

Материал излучателя

Нержавеющая сталь AISI 316

Окружающие условия

 

Хранение

-40 … +85 °C (-40 … +185 °F)

Температура измеряемой среды

  • Разнесенный: 2 … 200 °C (35.6 … 392 °F)
  • Интегральный: 2 … 120 °C (35.6 … 248 °F)

Класс защиты

IP67

Макс. скорость потока

DN 100 … 800:

  • FU380: 10 м/с (32.8 ft/s), FU380,
  • FUE380: 6 м/с (19.7 ft/s) FU(E)380

Преобразователь сигналов

 

Дисплей

LCD, 8 знаков, дополнительные 2 знака и символы для отображения состояния

Кнопка

Одна кнопка для управления

Связь

IrDA – оптический интерфейс связи с протоколом MODBUS RTU

Корпус

IP67/NEMA4X/6 по EN 60529 и DIN 40050

Рабочая температура

0 … 60 °C (32 … 140 F)

Температура хранения

-40 … +85 °C (-40 … +185 F) (вместе с батареей)

Установка

Компактно на сенсор: макс. 120 °C (248 °F),Раздельно: макс. 30 м (98.4 ft) от сенсора

Механические нагрузки

2 г, 1 … 800 Гц синусоидальные в всех направлениях IEC 68-2-6

Конструкция

Стеклопластиковый корпус, усиленный полиамидом

Питание

  • Батарея: заменяемая 3.6 В LiSOCl (Lithium Thionyl Chloride) battery pack 32 Ah
  • Сеть: 85 … 265 В AC (50 … 60 Гц)

Частота измерений

Батарейное питание: 0.5 Гц /

Сетевое питание: 20 Гц

Резервное питание: 0.5 Гц

Цифровой выход

Два пассивных гальванически изолированных релейных выхода MOS, A и B, макс. ±35 В AC/DC, 50 мА

Макс. частота импульсов

100 Гц

Индикация сигнализации

Трек 1 (F1), трек 2 (F3), низкий заряд батареи (F5), переполнение qs (F6), импульсное переполнение (F7)

Длина кабеля

Макс. 30 м между сенсором и преобразователем

EMC

  • Излучение EN 61000-6-4
  • Невосприимчивость к излучению EN 61000-6-2

Допуски

EN 1434 и OIML R75 класс 2 (версия EN от 1 июля 2002)

 

Установка в зависимости от времени
 

FU380

FUE380

Значение расхода

Установки в зависимости от размера первичного датчика

Установки в соответствии с стандартами EN 1434 / OIML R75

Сертификат

Нет сертификата

В зависимости от страны использования

Диапазон расхода qi … qs

0.02 … 10 м/с (0.065 … 32.8 ft/s)

0.02 … 10 м/с (0.065 … 32.8 ft/s)

Выход A

Прямое / обратное

Уставка: Прямое

Выход B

Уставка: Предупреждение

Уставка: Предупреждение

Выход B, функции

Обратный импульс, предупреждение

Уставка: Предупреждение

Цена импульса

0.5 l/p 1 l/p 2.5 l/p 10 l/p 50 l/p 100 l/p 250 l/p 500 l/p 1 m3/p 2.5 m3/p 5 m3/p 10 m3/p 25 m3/p 50 m3/p 100 m3/p 250 m3/p 500 m3/p 1000 m3/p

Уставка: См. схему (Конфигурация)

Уставка для SITRANS FUE950 или свободно выбираемая

Ширина импульса

5/10/20/50/100/200/ 500 мс

Уставка: 5 мс

Единицы расхода

Уставка: m3/h

Другие возможные значения:l/s, l/m, l/h, m3/m, m3/m, m3/day, Ml/day, GPS, GPM, GPH, GPD, MGD, CFs, CFm , CFh

Уставка: м3/ч

Объемные единицы

Уставка: m3

Другие возможные значения:l, Ml, Gallons, GPM, GPH, GPD, MGD, CFs, CFm , CFh, AcFt

Уставка: м3

 

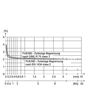
Погрешность SITRANS FU380

Чтобы обеспечить непрерывное точное измерение, расходомеры должны быть откалиброваны. Калибровка выполняется на оборудовании SIEMENS, аккредитованном в DANAK или UKAS согласно ISO/IEC 17025.

Аккредитующие организации DANAK и UKAS подписали соглашение ILAC MRA (International Laboratory Accreditation Corporation - Mutual Recognition Arrangement). Поэтому данная аккредитация гарантирует международное единство измерений и признание результатов тестов в 39 странах по всему миру, включая США (единство измерений с NIST).

Калибровочный сертификат поставляется с каждым SITRANS FU(E)380.

Погрешность измерений SITRANS FUE380

SITRANS FUE380 удовлетворяет следующим требованиям Ef≤ = ±(2 + 0.02 qp/qactuel) макс. ±5%, согласно EN 1434 и OIML R75, класс 2 ревизия от  1 июля 2002

 

Конфигурация выхода SITRANS FU(E)380

Вес импульса: выходы A/B конфигурируются как объем на один импульс, вычисляемый на прямом/реверсном или прямом/реверсном потоке нетто. Величина веса импульса свободно масштабируется (только для FU380).

Импульсный выход B может использоваться как показано выше, или в качестве функции сигнализации или вызова.

Вызов: выход вызова активен до тех пор, пока не будет сброшен вручную с помощью программы для ПК. Функция вызова активируется при активации сигнализации.

 

 

 


Дополнительно

Скачать Заказные данные 
SITRANS FU380
Принадлежности / Запасные части для расходомеров FUS380 и FUE380

Тип/описание

Заказной номер.А)

 

Двойной комплект батарей (время эксплуатации - 6 лет) 33 Ah

FDK-087H2255

 

Отдельная резервная аккумуляторная батарея 13.5 Ah

FDK-087L4201

 

Крышка отсека для батареи для измерительного преобразователя FUS080

A5E00694468

 

Набор PG 13.5 (2 шт.) для главного/ импульсного кабеля

FDK-083G0228

 

Набор PG 13.5 (2 шту.) для двойного коаксикального кабеля (6 мм)

A5E00694500

Набор для удаленного настенного монтажа измерительного преобразователя, включает в себя соединительную пластину (только DN 50 ... 1200 (2” ... 48”) )

A5E00694509

 

Клёммная коробка для компактного настенного монтажа измерительного преобразователя, включает в себя соединительную пластину (только бронзовые датчики DN 50 ... 80 (2“ ... 3“))

A5E01208138

 

лёммная коробка для компактного настенного монтажа измерительного преобразователя, включает в себя соединительную пластину (только стальные датчики DN 100 ... 1200 (4“ ... 48“))

A5E00694660

Скоба (держатель) для оптического ИК-устройства

A5E00695277

 

ИК-адаптер интерфейса с получением данных через USB и кабелем длиной 1.2 м

FDK-087L4163

 

Дополнительный модуль RS 232, интерфейс соединения "точка - точка", по протоколу MODBUS RTU

FDK-087L4212

 

Дополнительный модуль RS 485, интерфейс соединения "точка - точка", по протоколу MODBUS RTU

FDK-087L4213

Набор 5 м кабелей (4 шт.) для удаленного монтажа DN 50 ... 80 (2“ ... 3“)

A5E01208092

 

Набор 10 м кабелей (4 шт.) для удаленного монтажа DN 50 ... 80 (2“ ... 3“)

A5E01208114

Набор 20 м кабелей (4 шт.) для удаленного монтажа DN 50 ... 80 (2“ ... 3“)

A5E01208117

Набор 30 м кабелей (4 шт.) для удаленного монтажа DN 50 ... 80 (2“ ... 3“)

A5E01208121

Набор 1 м кабелей (4 шт.) для удаленного монтажа DN 50 ... 80 (2“ ... 3“)

A5E01208126

Набор 5 м кабелей (4 шт.) для удаленного монтажа DN 100 ... 1200 (4“ ... 48“)

A5E00695476

Набор 10 м кабелей (4 шт.) для удаленного монтажа DN 100 ... 1200 (4“ ... 48“)

A5E00695479

Набор 20 м кабелей (4 шт.) для удаленного монтажа DN 100 ... 1200 (4“ ... 48“)

A5E00695480

Набор 30 м кабелей (4 шт.) для удаленного монтажа DN 100 ... 1200 (4“ ... 48“)

A5E00695483

Набор 1м кабелей (4 шт.) для удаленного монтажа DN 100 ... 1200 (4“ ... 48“)

A5E00695486

Система управления для SIMATIC PDM

SIMATIC PDM Single Point V6.0

Для управления и настройки одного полевого устройства, связь через модем PROFIBUS DP/PA или HART, вкл. 1 паспортную таблицу

Не может быть расширен дальнейшими функциями или опциями TAG / блока питания, 5 языков (Немецкий, Английский, Французский, Испанский, Итальянский) работает под Windows 2000 Professional или под Windows XP Professional

6ES7658-3HX06-0YA5

 

Загрузить описание устройства FUE380 http:/support.automation.siemens.com/WW/view/en/17320235

А) Вся продукция на этой странице подчиняется экспортному правилу AL: 9I999, ECCN: N.

 


Чертеж

Скачать Заказные данные 
SITRANS FU380
Измерительный преобразователь IP67/NEMA 4X/6, монтаж на стену

 

Габариты трубы

Размер

PN 16

PN 25

PN 40

       

Размер

L

Вес

L

Вес

L

Вес

A1

D

D1

Подъемная скоба

DN

мм

кг

мм

кг

мм

кг

мм

мм

мм

 

100

350+0-2

20

-

-

350+0-3

16.5

361

220

180

нет

125

350+0-2

23

-

-

350+0-3

53

374

250

210

нет

150

500+0-3

26

-

-

500+0-3

32

388

285

240

да

200

500+0-3

38

500+0-3

47

500+0-3

55

414

340

295

да

250

600+0-3

60

600+0-3

76

600+0-3

91

440

405

355

да

300

500+0-3

66

500+0-3

81

-

-

466

460

410

да

350

550+0-3

94

550+0-3

121

-

-

-

-

-

-

400

550+0-3

124

550+0-3

153

-

-

507

580

525

да

500

625+0-3

190

625+0-3

244

-

-

558

715

650

да

600

750+0-3

303

750+0-3

365

-

-

609

840

770

да

700

875+0-3

361

875+0-3

552

-

-

660

910

840

да

800

1000+0-3

494

1000+0-3

770

-

-

710

1025

950

да

Вес электроники 1.5 кг

 

Размер

PN 16

PN 25

PN 40

       

 

L

Вес

L

Вес

L

Вес

A1

D

D1

Подъемная скоба

дюймы

дюймы

фунты

дюймы

фунты

дюймы

фунты

дюймы

дюймы

дюймы

 

4

13.77+0-0.08

44

-

-

13.77+0-0.12

36

14.21

8.66

7.09

нет

5

13.77+0-0.08

50

-

-

13.77+0-0.12

117

14.72

9.84

8.27

нет

6

19.68+0-0.12

57

-

-

19.68+0-0.12

71

15.28

11.22

9.45

да

8

19.68+0-0.12

84

19.68+0-0.12

104

19.68+0-0.12

121

16.30

13.39

11.61

да

10

23.62+0-0.12

132

23.62+0-0.12

168

23.62+0-0.12

201

17.32

15.94

13.98

да

12

19.68+0-0.12

146

19.68+0-0.12

179

-

-

18.35

18.11

16.14

да

14

21.65+0-0.12

207

21.65+0-0.12

267

-

-

-

-

-

-

16

21.65+0-0.12

273

21.65+0-0.12

337

-

-

19.96

22.83

20.67

да

20

24.61+0-3

419

24.61+0-3

538

-

-

21.97

28.15

25.59

да

24

29.53+0-0.12

668

29.53+0-0.12

805

-

-

23.98

33.07

30.31

да

28

34.45+0-0.12

796

34.45+0-0.12

1217

-

-

25.98

35.83

33.07

да

32

39.37+0-0.12

1089

39.37+0-0.12

1698

-

-

27.95

40.35

37.40

да

Вес электроники 1.5 кг

 


Схема подключения

Скачать Заказные данные 
SITRANS FU380

На схеме показано подключение кабеля преобразователя между клеммами передатчика и соответствующего преобразователя, и электрическое подключение теплосчетчика SITRANS FUE950.

 

 

 


Заказные данные

Скачать Заказные данные 

Цена на сайте указана розничная в ЕВРО без учета НДС.Для уточнения цены и размера предоставляемой скидки - звоните или присылайте заявки

Заказной номерPGОписание продуктаЦена
7ME340.-.....-....840Расходомер ультразвуковой SITRANS FUS380 0.00

 


Аксессуары

Скачать Заказные данные 

Цена на сайте указана розничная в ЕВРО без учета НДС.Для уточнения цены и размера предоставляемой скидки - звоните или присылайте заявки

Заказной номерPGОписание продуктаЦена
A5E00694500834SITRANS F US ACCESSORIES PG 13.5 SET (2 PCS.) FOR DUAL COAXIAL CABLE (6 MM) 43.46
A5E00694509834SITRANS FUS/FUE380 WALL MOUNTING KIT FOR REMOTE TRANSMITTER MOUNTING, INCL. CONNECTION PLATE, (DN50...DN1200 / 2...48). 521.52
A5E00694660834SITRANS FUS/FUE380 TERMINAL BOX FOR COMPACT TRANSMITTER MOUN- TING, INCL. CONNECTION PLATE, (STEEL SENSORS ONLY, DN100...DN1200/4...48). 521.52
A5E00695277844HOLDER FOR IRDA-INTERFACE ADAPTER TO TRANSMITTER SITRANS FUS080. 101.76
A5E01208138834SITRANS FUS380/FUE380 TERMINAL BOX FOR COMPACT TRANSMITTER MOUNTING INCL. CONNECTION PLATE (BRONZE SENSORS ONLY, DN50..80/2..3) 521.52
A5E02328485835ACCESSORIES, SUNCOVER 40.28
A5E02679676834DUAL LITHIUM BATTERY PACK 3,6V, 33AH FOR: FUS080 AND FUE080. 187.62
A5E02679923834SINGLE LITHIUM BATTERY PACK 3,6V, 13,5AH FOR FUS080 AND FUE080. 128.26
FDK:087L4163844MAG8000 ACCESSORIES USB IRDA ADAPTER 126.14
FDK:087L4212844SITRANS FM ACCESSORY MAG 8000 RS 232 ADD-ON MODULE POINT TO POINT COMMUNICATION INTERFACE WITH MODBUS RTU PROTOCOL 304.22
FDK:087L4213844SITRANS FM ACCESSORY MAG 8000 RS485 ADD-ON MODULE MULTIDROP COMMUNICATION INTERFACE WITH MODBUS RTU PROTOCOL 304.22