0

Разделы

Поворотные приводы - для клапанов


grey line

M9206-xxx-5S

(DBF1.06 / DAFx.06 / DMF1.06)

 

6 Нм

Электроприводы непосредственного монтажа М9206-xхх-5S с возвратной пружиной предназначены для работы с двухпозиционным, трёхпозиционным или пропорциональным управлением. Приводы моделей BG рассчитаны на напряжение 24 VAC, приводы моделей AGx и GGx рассчитаны на напряжение 24 VAC/DC, а приводы моделей BDx рассчитаны на напряжение 230 VAC. Эти реверсивные приводы устанавливаются на латунные шаровые клапаны Johnson Controls VG1000 с помощью монтажного комплекта М9000-520-5.


Электроприводы М9206-xхх-5S с возвратной пружиной обеспечивают рабочее усилие 6 Нм. Диапазон углов вращения настраивается механически. Встроенный вспомогательный выключатель сетевого напряжения, доступный в моделях М9206-xхВ индицирует конечные положения или выполняет функцию коммутации в выбранном диапазоне углов поворота. Обратная связь о положении обеспечивается для моделей с пропорциональным управлением посредством пропорционального сигнала постоянного напряжения.



M9206-xxx-5S


• Двухпозиционное (ON/OFF), трёхпозиционное и пропорциональное
  управление
• Автокалибровка диапазона перемещения при монтаже привода
• Реверсируемая монтажная конструкция
• Электронное определение останова двигателя во всем диапазоне углов
  поворота
• Заменяемый узел сцепления
• Встроенный вспомогательный выключатель (модели ххВ)
• Варианты электропитания 24 VAC, 24 VAC/DC и 230 VAC. Варианты
  входного сигнала 0(2)-10 VDC и 0(4)-20 мА
• Диапазон рабочих температур окружающей среды: от –32 до 60 °С

plan
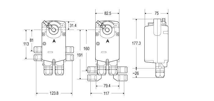
Размеры в мм