0
ETI    SIEMENS    ABB    WIKA    IFM    ELKO EP    HYUNDAI    VEGA    KSR KUEBLER    Johnson Controls    Siemens IA/DT (CA01)    Bosch Rexroth    Alfa Laval    SICK    Others  

Оптоволоконный кабель

Код: E20829
Связатся с нами: 067 285 7770

В корзину

Характеристики
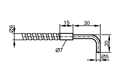
Датчик диффузного отражения
Ø 5 mm
Усилитель Диапазон
OBF 150 mm
ODF 1 mm
OMF 175 mm
Диапазон контроля
Диапазон OBF: 150 mm / ODF: 1 mm / OMF: 175 mm
Условия эксплуатации
Температура окружающей среды [°C]-58...315
Механические данные
Исполнение угловой
Длина [mm]900
Мин. радиус изгиба [mm]19,
расположение оптических волокон
Оптоволокно-световод стекло
Чувствительная головка нерж. сталь V2A (1.4305) (303S22)
Кожух нерж. сталь V2A (1.4305) (303S22)
Вес [kg]0,12
Примечания
Упаковочная величина [штука]1