0
ETI    SIEMENS    ABB    WIKA    IFM    ELKO EP    HYUNDAI    VEGA    KSR KUEBLER    Johnson Controls    Siemens IA/DT (CA01)    Bosch Rexroth    Alfa Laval    SICK    Others  

MVM-03M-2MC-MKLB

Код: 6037421
Связатся с нами: 067 285 7770

В корзину

Показать всё Скрыть всё

  • Производительность
    Длина периода1 mm
  • Механические данные
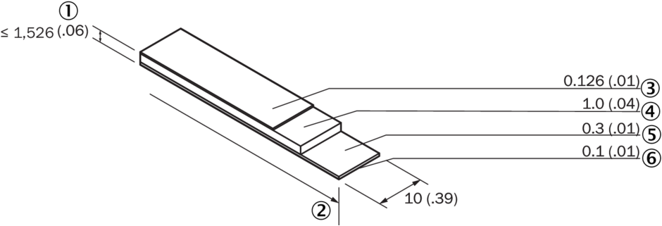
    РазмерыСм. размерный чертеж
    Вес0,18 kg/m
    Длина магнитной ленты3 m
    Материал, магнитная лента17410 твердый феррит 9/28 P
    Материал, ленточный носительНержавеющая сталь
  • Данные окружающей среды
    Диапазон рабочей температуры–20 °C ... +100 °C
    Диапазон температуры при хранении–30 °C ... +100 °C
    Допустимая относительная влажность воздуха100 %, Допускается образование конденсата
    Температурный коэффициент магнитной ленты(11 ± 1) µm/K/m
  • Классификации
    ECl@ss 5.027270705
    ECl@ss 5.1.427270705
    ECl@ss 6.027270705
    ECl@ss 6.227270705
    ECl@ss 7.027270705
    ECl@ss 8.027270705
    ECl@ss 8.127270705
    ECl@ss 9.027270705
    ETIM 5.0EC002544
    ETIM 6.0EC002544
    UNSPSC 16.090141111613
Показать всё Скрыть всё

Технические чертежи

Габаритный чертеж Магнитная лента Вид: Галерея Список Показать всё Скрыть всё
Показать всё Скрыть всё