0
ETI    SIEMENS    ABB    WIKA    IFM    ELKO EP    HYUNDAI    VEGA    KSR KUEBLER    Johnson Controls    Siemens IA/DT (CA01)    Bosch Rexroth    Alfa Laval    SICK    Others  

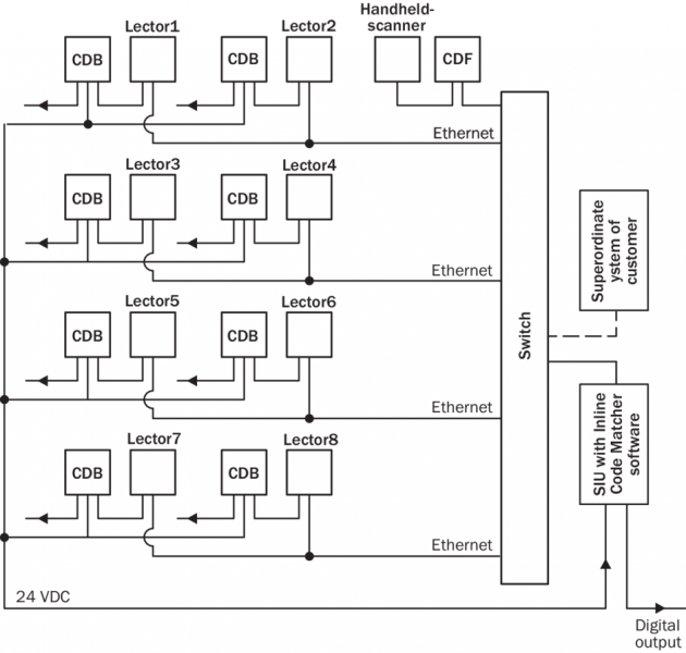
Inline Code Matcher

Код: Inline Code Matcher
Связатся с нами: 067 285 7770

В корзину

Показать всё Скрыть всё

  • Производительность
    Виды одномерных кодов

    GS1-128 / EAN 128

    UPC / GTIN / EAN

    2/5 Interleaved

    GS1 DataBar

    Code 39

    Code 128

    Codabar

    Code 32

    Code 93

    Виды 2D-кодов

    Data-Matrix ECC200

    GS1 Data-Matrix

    PDF417

    PDF417 Truncated

    QR-код

    Количество кодов на одно сканирование1
    Количество кодов на считывающий проход1
    Количество объектов в секунду4, на ряд
  • Интерфейсы
    Ethernet
    USB
    Пользовательский интерфейсСенсорный экран, 7 дюймов, 800 x 480
    Карта памяти4 GB
  • Механика/электроника
    Размеры, корпус (Д x Ш x В)254,2 mm x 147,7 mm x 56 mm
    Тип защитыIP65
    Класс защитыIII
    Напряжение питания24 V
    Цвет корпусаЧерный
    Материал корпусаАлюминий
  • Данные окружающей среды
    Рабочий диапазон температур0 °C ... +50 °C
    Диапазон температур при хранении–40 °C ... +75 °C
  • Классификации
    ECl@ss 5.027281001
    ECl@ss 5.1.427289090
    ECl@ss 6.027289090
    ECl@ss 6.227289090
    ECl@ss 7.027289090
    ECl@ss 8.027289090
    ECl@ss 8.127289090
    ECl@ss 9.027289090
    UNSPSC 16.090152161523
Показать всё Скрыть всё

Технические чертежи

Схема соединений Вид: Галерея Список Показать всё Скрыть всё
Показать всё Скрыть всё