0
ETI    SIEMENS    ABB    WIKA    IFM    ELKO EP    HYUNDAI    VEGA    KSR KUEBLER    Johnson Controls    Siemens IA/DT (CA01)    Bosch Rexroth    Alfa Laval    SICK    Others  

IME08-04NPSZT0S

Код: 1040886
Связатся с нами: 067 285 7770

В корзину

Показать всё Скрыть всё

  • Характеристики
    Тип корпусаЦилиндрический с резьбой
    Конструкция корпусаСтандарт
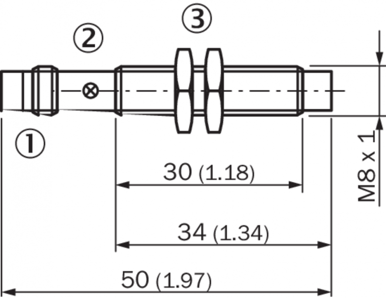
    Размер резьбыM8 1
    ДиаметрØ 8 mm
    Расстояние срабатывания Sn4 mm
    Расстояние срабатывания обеспечено Sa3,24 mm
    МонтажС выступающей частью
    Частота переключения4.000 Hz
    Тип подключенияРазъем M8, 3-конт.
    Переключающий выходPNP
    Функция выходаНормально открытый
    Электрическое исполнениеПост. ток, 3-проводный
    Тип защитыIP67 1)
    • 1) Согласно EN 60529.
  • Механика/электроника
    Напряжение питания10 V DC ... 30 V DC
    Остаточная пульсация≤ 10 %
    Падение напряжения≤ 2 V 1)
    Потребление тока≤ 10 mA 2)
    Задержка готовности≤ 100 ms
    Гистерезис5 % ... 15 %
    Воспроизводимость≤ 2 % 3) 4)
    Отклонение температуры (от Sr)± 10 %
    ЭМССогласно EN 60947-5-2
    Постоянный ток Ia≤ 200 mA
    Защита от короткого замыкания
    Защита от инверсии полярности
    Подавление импульса включения
    Ударопрочность и виброустойчивость30 g, 11 ms/10 Hz ... 55 Hz, 1 mm
    Диапазон температур при работе–25 °C ... +75 °C
    Материал корпусаМеталл, никелированная латунь
    Материал, активная поверхностьПластик, Пластик
    Длина корпуса50 mm
    Полезная длина резьбы30 mm
    Макс. момент затяжки≤ 5 Nm
    № файла ULNRKH.E181493
    • 1) При Ia max.
    • 2) Без нагрузки.
    • 3) Ub и Ta постоянны.
    • 4) От Sr.
  • Коэффициенты редукции
    ПримечаниеЗначения являются ориентировочными и могут изменяться
    Сталь St37 (Fe)1
    Нержавеющая сталь (V2A)Ок. 0,8
    Алюминий (Al)Ок. 0,45
    Медь (Cu)Ок. 0,4
    Латунь (Ms)Ок. 0,4
  • Указания по установке
    ПримечаниеСоответствующие графические материалы см. в разд. «Указания по установке»
    A8 mm
    B18 mm
    C8 mm
    D12 mm
    E8 mm
    F32 mm
  • Классификации
    ECl@ss 5.027270101
    ECl@ss 5.1.427270101
    ECl@ss 6.027270101
    ECl@ss 6.227270101
    ECl@ss 7.027270101
    ECl@ss 8.027270101
    ECl@ss 8.127270101
    ECl@ss 9.027270101
    ETIM 5.0EC002714
    ETIM 6.0EC002714
    UNSPSC 16.090139122230
Показать всё Скрыть всё

Технические чертежи

Указания по установке Монтаж не вровень с плоскостью Схема соединений cd-002 Габаритный чертеж IME08 стандарт, штекер, не вровень с плоскостью Вид: Галерея Список Показать всё Скрыть всё
Показать всё Скрыть всё