0
ETI    SIEMENS    ABB    WIKA    IFM    ELKO EP    HYUNDAI    VEGA    KSR KUEBLER    Johnson Controls    Siemens IA/DT (CA01)    Bosch Rexroth    Alfa Laval    SICK    Others  

IMA18-20NE1ZC0K

Код: 6041794
Связатся с нами: 067 285 7770

В корзину

Показать всё Скрыть всё

  • Характеристики
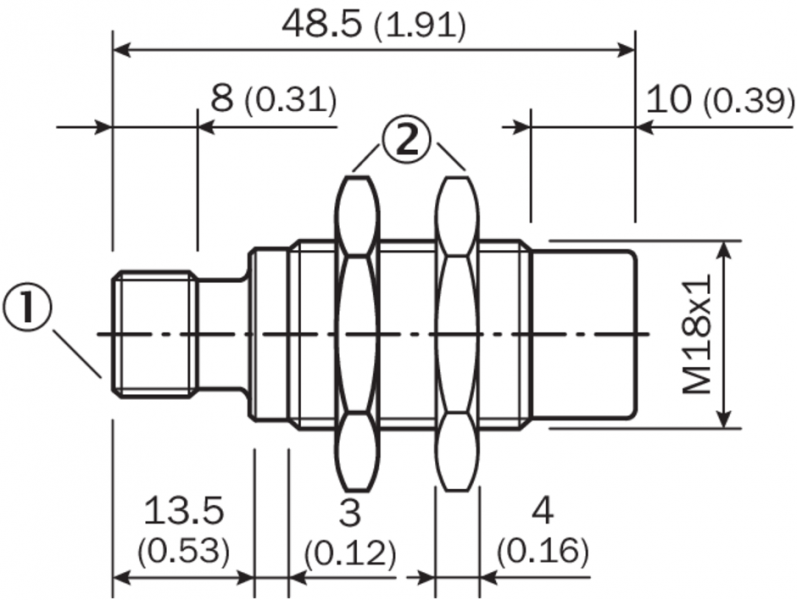
    Тип корпусаЦилиндрический с резьбой
    Размер резьбыM18 1
    ДиаметрØ 18 mm
    Расстояние срабатывания Sn0 mm ... 20 mm
    Расстояние срабатывания обеспечено Sa16,2 mm
    МонтажС выступающей частью
    Тип подключенияРазъем M12, 4-конт.
    Функция выходаАналоговый
    Точность воспроизведения0,3 mm 1) 2) 3)
    Стабильность повторяемости (TA пост.)± 0,05 mm
    Разрешение≤ 5 µm
    Тип защитыIP67 4)
    Особые свойстваАналоговый выход
    • 1) Согласно IEC 60947-5-2.
    • 2) Ub = DC 20 V ... 30 V.
    • 3) TA = 23 °C ± 5 °C.
    • 4) Согласно EN 60529: 2000-09.
  • Механика/электроника
    Напряжение питания15 V DC ... 30 V DC
    Остаточная пульсация≤ 20 % 1)
    Задержка готовности≤ 60 ms
    Отклонение температуры (от Sr)≤ 10 %
    Ток холостого хода тип.≤ 12 mA 2)
    Ток нагрузки10 3)
    Макс. нагрузочное сопротивление

    400 Ω Ub = 15 V

    1.000 Ω Ub = 30 V

    Выходное напряжение на QA1

    s = 0 mm: 0 V/-0 +0,4 V (23 °C)

    s = 10 mm: +5,2 V/ +-0,4 V (23 °C)

    s = 20 mm: +10 V/ +-0,4 V (23 °C)

    Выходной ток на QA2

    s = 0 mm: 4 mA/ +-0,8 mA (23 °C)

    s = 20 mm: 20 mA/ +-0,8 mA (23 °C)

    Выходное напряжение0 V ... 10 V
    Диапазон250 Hz 4)
    Защита от короткого замыкания
    Защита от инверсии полярности
    Диапазон температур при работе–25 °C ... +70 °C 5) 6)
    Материал корпусаМеталл, никелированная латунь
    Материал, активная поверхностьПластик
    Длина корпуса48,5 mm
    Полезная длина резьбы22 mm
    • 1) От UV.
    • 2) Не задействован.
    • 3) На выходе напряжения QA1.
    • 4) –3 дБ при s = 10 мм.
    • 5) QA1 нагружен, QA2 не нагружен.
    • 6) QA1 не нагружен, QA2 нагружен: см. уменьшение температуры.
  • Коэффициенты редукции
    ПримечаниеЗначения являются ориентировочными и могут изменяться
    Нержавеющая сталь (V2A)Ок. 0,69
    Алюминий (Al)Ок. 0,38
    Медь (Cu)Ок. 0,36
    Латунь (Ms)Ок. 0,46
  • Указания по установке
    ПримечаниеСоответствующие графические материалы см. в разд. «Указания по установке»
    A21 mm
    B60 mm
    C18 mm
    D60 mm
    E20 mm
    F200 mm
  • Классификации
    ECl@ss 5.027270101
    ECl@ss 5.1.427270101
    ECl@ss 6.027270101
    ECl@ss 6.227270101
    ECl@ss 7.027270101
    ECl@ss 8.027270101
    ECl@ss 8.127270101
    ECl@ss 9.027270101
    ETIM 5.0EC002714
    ETIM 6.0EC002714
    UNSPSC 16.090139122230
Показать всё Скрыть всё

Технические чертежи

Указания по установке Монтаж не вровень с плоскостью Схема соединений cd-022 Снижение температуры Кривая срабатывания IMA18 Габаритный чертеж IMA18, штекер, не вровень с плоскостью Вид: Галерея Список Показать всё Скрыть всё
Показать всё Скрыть всё