0
ETI    SIEMENS    ABB    WIKA    IFM    ELKO EP    HYUNDAI    VEGA    KSR KUEBLER    Johnson Controls    Siemens IA/DT (CA01)    Bosch Rexroth    Alfa Laval    SICK    Others  

IMA08-04BE3ZC0K

Код: 6041782
Связатся с нами: 067 285 7770

В корзину

Показать всё Скрыть всё

  • Характеристики
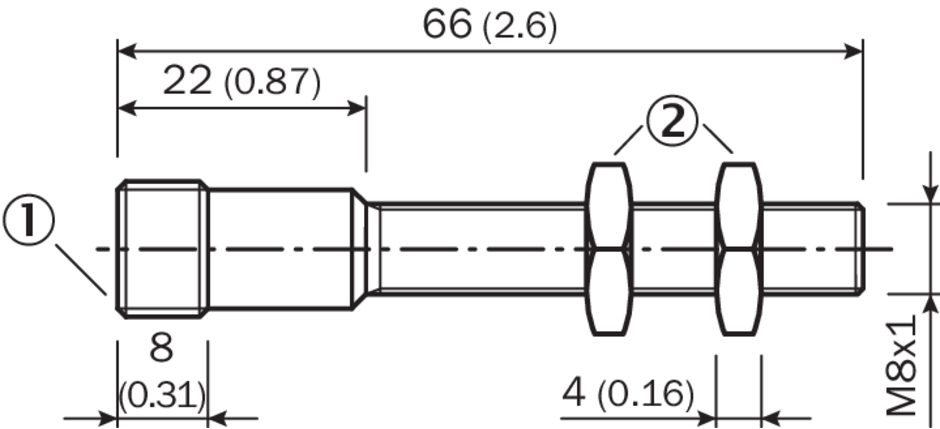
    Тип корпусаЦилиндрический с резьбой
    Размер резьбыM8 1
    ДиаметрØ 8 mm
    Расстояние срабатывания Sn0 mm ... 4 mm
    Расстояние срабатывания обеспечено Sa3,24 mm
    МонтажПсевдозаподлицо
    Тип подключенияРазъем M12, 4-конт.
    Функция выходаАналоговый
    Точность воспроизведения0,3 mm 1) 2) 3)
    Стабильность повторяемости (TA пост.)± 0,01 mm
    Разрешение≤ 1 µm
    Тип защитыIP67 4)
    Особые свойстваАналоговый выход
    • 1) Согласно IEC 60947-5-2.
    • 2) Ub = DC 20 V ... 30 V.
    • 3) TA = 23 °C ± 5 °C.
    • 4) Согласно EN 60529: 2000-09.
  • Механика/электроника
    Напряжение питания15 V DC ... 30 V DC
    Остаточная пульсация≤ 20 % 1)
    Задержка готовности≤ 50 ms
    Отклонение температуры (от Sr)

    ± 5 % 2)

    ± 10 % 3)

    Ток холостого хода тип.≤ 10 mA 4)
    Ток нагрузки± 10 mA 5)
    Выходное напряжение на QA1

    s = 0 mm: 0 V/-0 +0,4 V (23 °C)

    s = 2 mm: +5,2 V/ +-0,4 V (23 °C)

    s = 4 mm: +10 V/ +-0,4 V (23 °C)

    Выходное напряжение0 V ... 10 V
    Диапазон1.600 Hz 6)
    Защита от короткого замыкания
    Защита от инверсии полярности
    Диапазон температур при работе–25 °C ... +70 °C
    Материал корпусаМеталл, никелированная латунь
    Материал, активная поверхностьПластик
    Длина корпуса66 mm
    Полезная длина резьбы44 mm
    • 1) От UV.
    • 2) При 0…+70 °C.
    • 3) При –25...0 °C.
    • 4) Не задействован.
    • 5) На выходе напряжения QA1.
    • 6) –3 дБ при s = 2 мм.
  • Коэффициенты редукции
    ПримечаниеЗначения являются ориентировочными и могут изменяться
    Нержавеющая сталь (V2A)Ок. 0,68
    Алюминий (Al)Ок. 0,28
    Медь (Cu)Ок. 0,25
    Латунь (Ms)Ок. 0,4
  • Указания по установке
    ПримечаниеСоответствующие графические материалы см. в разд. «Указания по установке»
    A4 mm
    B12 mm
    C8 mm
    D12 mm
    E1 mm
    F40 mm
  • Классификации
    ECl@ss 5.027270101
    ECl@ss 5.1.427270101
    ECl@ss 6.027270101
    ECl@ss 6.227270101
    ECl@ss 7.027270101
    ECl@ss 8.027270101
    ECl@ss 8.127270101
    ECl@ss 9.027270101
    ETIM 5.0EC002714
    ETIM 6.0EC002714
    UNSPSC 16.090139122230
Показать всё Скрыть всё

Технические чертежи

Указания по установке Монтаж не вровень с плоскостью Схема соединений cd-021 Кривая срабатывания IMA08 Габаритный чертеж IMA08, штекер, почти вровень с плоскостью Вид: Галерея Список Показать всё Скрыть всё
Показать всё Скрыть всё